角钢法兰做分析?

产品信息2年前发布 admin
53 0 0

角钢法兰做分析

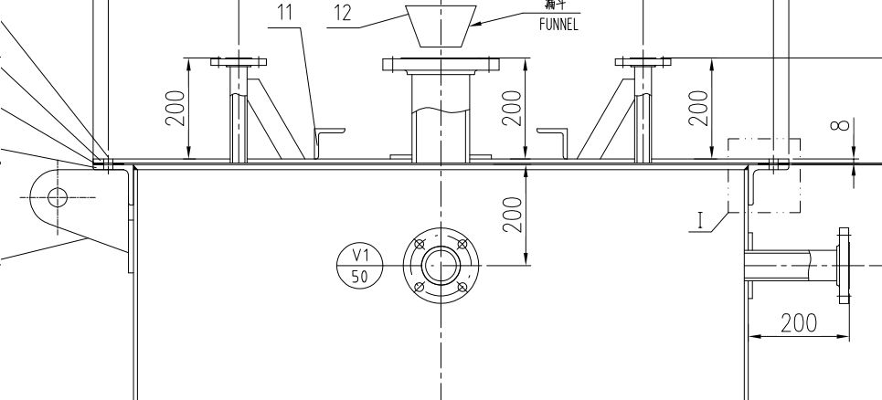
一朋友发过来一图,

“急,这个法兰结构需要做应力分析。”

我一看,原来是是一个角钢法兰。

角钢圈带全平面垫片,加一块平板,平板上面做了两个加强筋。

角钢法兰做分析?

其设计参数如下:

角钢法兰做分析?

温度和压力不算高,但是为啥需要做应力分析呢?

分析万能?

我问:

问为何不用常规法兰和平盖计算?

朋友回答说:

业主工程图用的角钢,不愿意改,说是应力分析一下就行了,反正分析什么都能做。

我又看了结构,然后和朋友说:

这本质上是一个密封问题,建议不要采用应力分析来做。

朋友问:

如果业主坚持用这种结构呢?如果业主坚持用应力分析来校核这种非常规结构呢?

我回答说:

应该说服业主,不要用应力分析,直接修改结构。

角钢法兰做分析?

为什么不用分析

为什么这个结构,不应该优先选择应力分析来解决呢?

我解释道:

1. 规范不合适

角钢做法兰一般是用在对密封没有什么要求的情况,比如设备是常压或者压力非常非常低。主要原因是角钢密封是非常困难的。

根据NB/T 47003.1的表6-4,平盖结构图,是有类似结构的。

角钢法兰做分析?

这种结构的适用范围为0.002MPa,即0.02Barg,而我们这台设备是3.5Barg,水压试验4.4Barg,远远超过规范的允许。

2. 密封问题复杂

密封问题是非常复杂的,尤其是设计法兰垫片螺栓系统,需要做接触分析,用到的假设太多,很多数据只是猜测,并不准确。计算的结果是否可信真是一个问题。

这不是强度问题,算一下应力即可。密封不仅仅强度要足够,还要保持足够的刚度,角钢太薄弱。

3.  角钢制造比较麻烦

从加工方面来说,法兰密封面要机加工,才能保证密封性能。

用角钢,看上去将角钢围成一圈即可加工完成,方便省事。

但是角钢是个结构件,表面坑坑洼洼,加工后的圆度平面度无法保证,如果带压,必定要漏。

如果将角钢加工完成后,再机加工一下,那么为什么不用板材直接加工呢?还省去煨制的步骤。

4. 常规计算完全合适

这个设备按照常规平焊法兰计算完全可行,成熟稳定,可靠性高。

为什么要用分析去证明角钢可以呢?

为什么不直接用常规的平板法兰计算?

从压力和垫片My值可以预计,这个法兰并不会很厚。造价不会比角钢贵多少。

为什么没有难度也要创造难度上?

如果业主或厂家是想证明角钢也可以耐压,当做一个试验,那么我支持,虽然结构很差,但是知道角钢承压极限,也是件乐事。

如果是一个项目,那么我强烈不建议用这种有风险的结构。

如果到时候水压不过,各个方面都会非常难受。

5. 接触分析的模糊地带

这个结构是螺栓法兰垫片系统,如果真要分析,是一个接触分析。

接触分析,是一种边界条件非线性问题,接触体的接触面积和压力分布随外载荷变化而变化。

对于非接触静力学问题,大部分人计算结果是差不多的,区别往往只是网格疏密造成的应力大小有区别,不影响整体的精度和准确性。

非线性问题,计算起来比较复杂,和人的操作有很大的关系。不同的人,可能计算结果会相差很远。

非线性需要设置的量很多,非线性算法也有很多选择,不同的人设置不同的值,后面结果自然五花八门,通过调整参数,甚至将不合格做成合格的。

对于角钢法兰来说,有很多数据是不确定的,比如垫片的弹性模量,薄角钢的螺栓预紧力,my值。(当然可以参照GB150选取,但是你都按照150计算了,那么为什么不直接用GB150算全套法兰?)

更不要说非线性的收敛非常麻烦,与网格精度,边界条件,载荷步等一系列因素相关。

本身一台常压设备,采用这么个复杂的,低可靠性,算完还要机加工的分析,这不是大炮打蚊子,打完还要收尸吗?

角钢法兰做分析?

所以我的意见是:

费时,费力做分析,得到一个可靠性低的分析报告,制造一个可靠性低的结构,加工成本还高。

这究竟是图啥?

改成平焊法兰,可靠,迅速,常规加工,几乎都是优点。

什么是好结构

遇到太多的朋友,一遇到非标的结构,第一个想到的竟然是:

做个有限元分析。

仿佛分析能够解决所有问题。

雷军说:

不要用战术上的勤奋掩盖战略上的懒惰。

遇到新结构,应该想想,这个结构到底是一个什么模型?

均布梁,简支梁,圆平板,静力学,动力学,瞬态,稳态,温度,疲劳,蠕变,断裂?

每种模型什么特点,什么优缺点,注意点在什么地方。

做个有限元分析容易,怎么判断结构好不好难!

结构好不好,需要丰富的经验。

比如卖猪肉的,

客户买一斤,售货员直接能一刀大致切一斤,这是工程经验,

他放称上一称,一斤一,这是规则设计;

到实验室精确测量1斤猪肉,去除塑料袋的干扰偏差,排除空气扰动,水分蒸发,精确小数点后3个点,这是有限元分析。

分析完后,经过充分考虑您的易胖体质以及胃容量和劳动强度,不需要吃一斤,只要吃2.4/2.7=0.889斤即可,这是有限元优化。

工程师应该能够判断,这种非标结构到底是不是一个合适的结构?

比如:

简支梁优于悬臂梁,封头越圆受力越好;

材料利用率上空心管刚度好于实心管;

带颈对焊法兰优于平焊法兰;

整体补强优于补强圈;

等等~~

面对稍微超规范的问题,应先判断它的结构到底怎么样,有没有类似结构借鉴。

比如上文的角钢圈法兰,工程上一般用于常压,对于密封没有特别的要求的设备。

此时做有限元分析,即使过了,也是掩耳盗铃。

结构不合理,分析再精确也是白搭。

后记

朋友交流过后,后来没有再联系我,几月之后偶然想起,问了一下。

回答如下:

角钢法兰做分析?

大约 结构 的确 是 真的 改了罢。

往期精彩:

快开法兰的计算以及故事

已完成的设备局部应力超标问题

固定管板高温换热器,仅仅是外压超限的问题吗?

极限思维和换热器设计

局部应力计算超界怎么办

外压应力系数B值曲线温度超界的解决方法(续)

欢迎关注公众号:VCAD001, 一个压力容器人的自我修养。

角钢法兰做分析?

© 版权声明

相关文章

暂无评论

none
暂无评论...